Showing 556 to 570 of 2488 results
Technology transfer in renewable energies, power electronics, energy control, electrical vehicles...

Technology transfer in renewable energies, power electronics, energy control, electrical vehicles...

Research Services and Capabilities CITCEA-UPC
Enhancing sustainability and reducing food waste at all points along the food value chain

Enhancing sustainability and reducing food waste at all points along the food value chain

Innovative Products and Technologies Resetfoods
SaaS Platform for Drug Discovery

SaaS Platform for Drug Discovery

Research Services and Capabilities Mind the Byte
Increasing the information capacity of optical communications through embedded data modulation over pilot symbols

Increasing the information capacity of optical communications through embedded data modulation over pilot symbols

Patents for licensing Instituto de Telecomunicações
Winemaking yeast for use in nitrogen-deficient musts

Winemaking yeast for use in nitrogen-deficient musts

Patents for licensing Hub APTA
Trace Lead Enhanced Platinum Formic Acid Fuel Cell Electrode

Trace Lead Enhanced Platinum Formic Acid Fuel Cell Electrode

Innovative Products and Technologies Georgetown University
Wide Area Surveillance Platform (WASP)

Wide Area Surveillance Platform (WASP)

Innovative Products and Technologies CSIR
Sustainable concrete with recycled concrete aggregate and wind turbine blade waste

Sustainable concrete with recycled concrete aggregate and wind turbine blade waste

Patents for licensing UNIVERSIDAD DE BURGOS
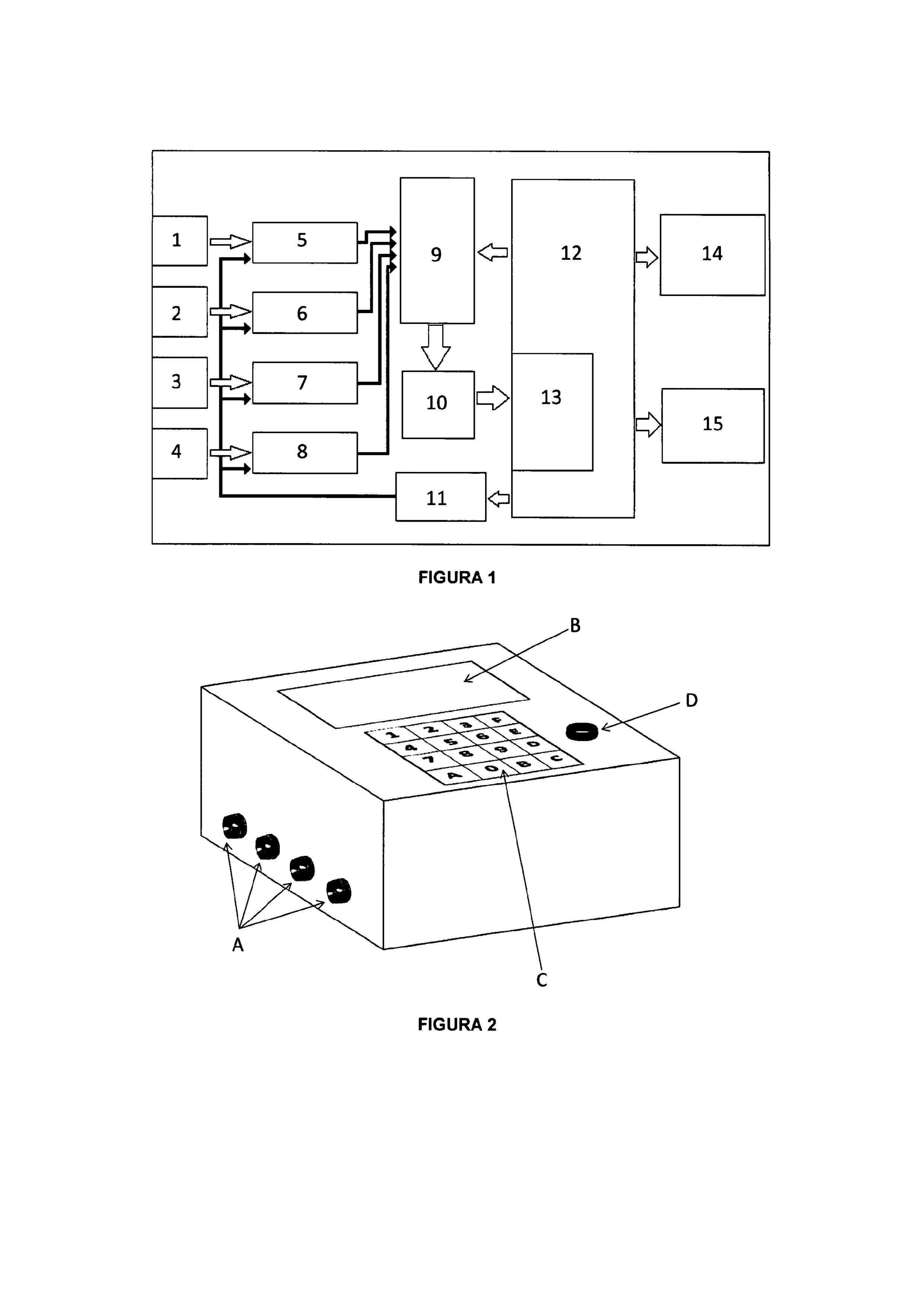
Early warning system for detecting deterioration in post intensive care patients

Early warning system for detecting deterioration in post intensive care patients

Innovative Products and Technologies Covid-19 Innovation Challenges by Innoget
Lithium filled nanocapsules for cancer treatment

Lithium filled nanocapsules for cancer treatment

Patents for licensing ICMAB-CSIC
A new, effective method for obtaining common ash cuttings

A new, effective method for obtaining common ash cuttings

Patents for licensing Centre Technology Transfer CITTRU
Global Distribution of Early Childhood Education Content

Global Distribution of Early Childhood Education Content

Innovative Products and Technologies DeltaTech-Korea
NO BEAR ALLOWED.This devise prevent to entry of bears in rural area.

NO BEAR ALLOWED.This devise prevent to entry of bears in rural area.

Investment Opportunities in Startups and Spinoffs Nu innovations Inc
Tyrosine hydroxylase inhibitors for treatment of aortic aneurysm

Tyrosine hydroxylase inhibitors for treatment of aortic aneurysm

Patents for licensing CSIC - Consejo Superior de Investigaciones Científicas
Design and development of virtual and/or interactive guides/tours

Design and development of virtual and/or interactive guides/tours

Research Services and Capabilities UNIVERSIDAD DE BURGOS